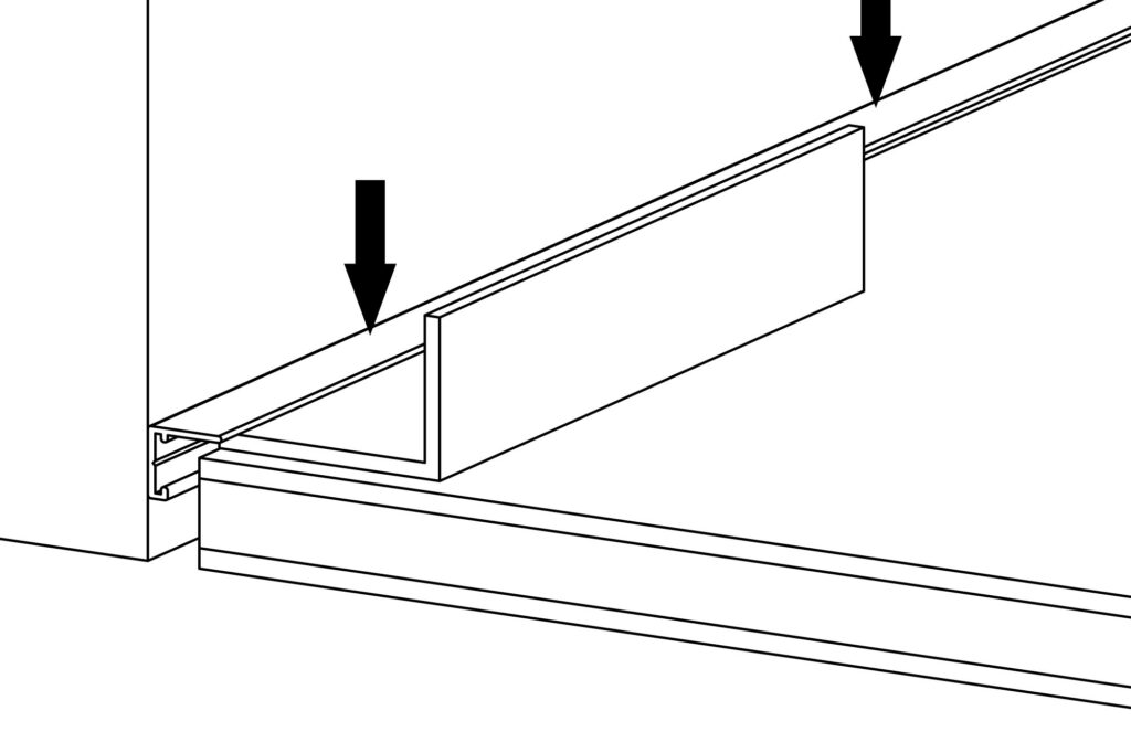
SLED16X5
The SLED16X5 base profile creates a discreet and innovative finish from the floor covering to the wall, window (frame) or stair step – where connection and expansion joints must be maintained structurally
Suitable for:
parquet, laminate, design floors and tiles – from a floor thickness of 5 mm


Prísur: 160 kr/m v/mvg

Gold satin finish EV3 
White finely structured RAL 9016 
Black satin C35 
Titanium satin finish C31 
Silver satin finish EV1













